دیزنی با پتنت تایید شده ایالات متحده به سمت Metaverse حرکت می کند تا شبیه ساز دنیای مجازی بسازد – Metaverse Bitcoin News

[ad_1] حق ثبت اختراع اخیراً کشف شده نشان می دهد که شرکت چند ملیتی سرگرمی و رسانه آمریکایی، شرکت والت دیزنی، توسط اداره ثبت اختراع و علائم تجاری ایالات متحده (USPTO) برای یک پتنت “شبیه ساز دنیای مجازی” تایید شده است. شبیه ساز از یک “نقشه سه بعدی (سه بعدی) از هندسه محل برگزاری در

کد خبر : 153970
تاریخ انتشار : دوشنبه 10 ژانویه 2022 - 23:30
دیزنی با پتنت تایید شده ایالات متحده به سمت Metaverse حرکت می کند تا شبیه ساز دنیای مجازی بسازد – Metaverse Bitcoin News

[ad_1]

حق ثبت اختراع اخیراً کشف شده نشان می دهد که شرکت چند ملیتی سرگرمی و رسانه آمریکایی، شرکت والت دیزنی، توسط اداره ثبت اختراع و علائم تجاری ایالات متحده (USPTO) برای یک پتنت “شبیه ساز دنیای مجازی” تایید شده است. شبیه ساز از یک “نقشه سه بعدی (سه بعدی) از هندسه محل برگزاری در دنیای واقعی تشکیل شده است.

پتنت شبیه ساز دنیای مجازی دیزنی به دنبال بحث باب چاپک درباره متاورس دیزنی است.

علاقه دیزنی به فناوری متاورس و بلاک چین اخیراً نشان داده شده است زیرا یک پتنت اخیر که در پایان دسامبر تأیید شده است نشان می دهد که غول سرگرمی برای مفهوم «شبیه ساز دنیای مجازی» ثبت شده است.

حق ثبت اختراع شبیه ساز دنیای مجازی به دنبال تماس باب چاپک، مدیرعامل دیزنی در ماه نوامبر است، زمانی که او توضیح داد که شرکت برای متافورس «خودمان» آماده است. چاپک همچنین تاکید کرد که دیزنی همیشه در خط مقدم آخرین فناوری ها قرار دارد.

چاپک در طول این تماس اظهار داشت: «شرکت والت دیزنی سابقه طولانی به عنوان یکی از پذیرندگان اولیه در استفاده از فناوری برای افزایش تجربه سرگرمی دارد. مدیر عامل دیزنی افزود:

تلاش‌های ما تا به امروز صرفاً پیش‌آگهی است برای زمانی که می‌توانیم دنیای فیزیکی و دیجیتال را حتی نزدیک‌تر به هم متصل کنیم، و امکان داستان‌سرایی بدون مرز را در متاورز دیزنی خودمان فراهم کنیم، و مشتاقانه منتظر ایجاد فرصت‌های بی‌نظیر برای مصرف‌کنندگان هستیم. همه چیزهایی را که دیزنی برای ارائه در محصولات و پلتفرم های ما ارائه می دهد، هر کجا که مصرف کننده باشد، تجربه کنید.

شبیه سازی یکی از 12 پارک موضوعی دیزنی، فروش از دست رفته در اثر همه گیر، دیزنی می گوید که “هیچ برنامه فعلی” برای راه اندازی دنیای مجازی ندارد.

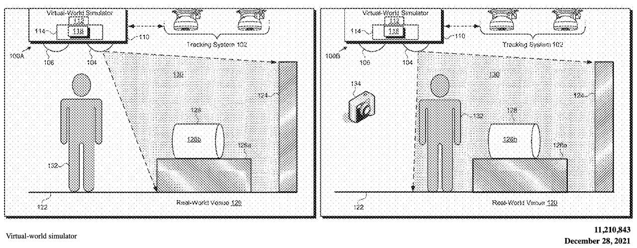
پتنت شماره 11210843 ایالات متحده که توسط دیزنی ثبت شده است توضیح می دهد که شبیه ساز دنیای مجازی دارای یک پروتکل محاسباتی است که شامل یک پردازنده سخت افزاری و حافظه است که کد نرم افزار را ذخیره می کند. این پروتکل همچنین کاربر را از طریق رایانه یا دستگاه دستی ردیابی می کند تا اقداماتی را با نقشه هندسه یک مکان واقعی دیزنی انجام دهد.

دیزنی با پتنت تایید شده ایالات متحده برای ایجاد
ثبت اختراع ایالات متحده شماره 11210843 توسط شرکت والت دیزنی ثبت شده است.

دستگاه کنترلی یا دستی قادر است “با تطبیق یک یا چند جلوه مجازی شناسایی شده با هندسه محل برگزاری دنیای واقعی از یک نقطه دید فعلی از منظر متحرک ردیابی شده، یک دنیای مجازی را شبیه سازی کند.”

اساساً، این فناوری شبیه سازی یکی از 12 پارک موضوعی دیزنی است که در سراسر جهان واقع شده است. این شرکت ممکن است در ارائه یک تجربه مجازی برای جبران درآمد از دست رفته ناشی از بسته شدن پارک های موضوعی فیزیکی به بازدیدکنندگان به دلیل همه گیری کووید-19 سرسخت باشد.

طبق آمار فوریه 2021، دیزنی 2.6 میلیارد دلار از از دست دادن فروش در طول همه گیری همه گیر را از دست داد و این شرکت اخیراً در آگوست 2021 دوباره شروع به سودآوری کرده است. همانطور که این شرکت به لس آنجلس تایمز گفت، “هیچ برنامه ای فعلی” برای راه اندازی دنیای مجازی ندارد.

برچسب ها در این داستان

12 پارک موضوعی، فناوری بلاک چین، باب چاپک، کلون، کووید-19، دیزنی، بلاک چین دیزنی، مدیر عامل دیزنی، دیزنی متاورس، دیزنی NFTs، متاورس دیزنی، بیماری همه گیر، پتنت، مکان واقعی دیزنی، فروش، USPTO، USTPO، مجازی محل برگزاری دیزنی، شبیه ساز دنیای مجازی، ثبت اختراع شبیه ساز دنیای مجازی، شرکت والت دیزنی

نظر شما در مورد پتنت اخیراً تایید شده دیزنی برای دنیای پارک موضوعی مجازی چیست؟ نظر خود را در مورد این موضوع در بخش نظرات زیر با ما در میان بگذارید.

جیمی ردمن

جیمی ردمن رهبر اخبار در Bitcoin.com News و یک روزنامه نگار فناوری مالی است که در فلوریدا زندگی می کند. ردمن از سال 2011 عضو فعال جامعه ارزهای دیجیتال بوده است. او علاقه زیادی به بیت کوین، کد منبع باز و برنامه های کاربردی غیرمتمرکز دارد. از سپتامبر 2015، ردمن بیش از 5000 مقاله برای Bitcoin.com News درباره پروتکل‌های مخربی که امروز در حال ظهور هستند، نوشته است.




اعتبار تصویر: Shutterstock، Pixabay، Wiki Commons

سلب مسئولیت: این مقاله فقط برای اهداف اطلاعاتی است. این یک پیشنهاد مستقیم یا درخواست یک پیشنهاد برای خرید یا فروش، یا توصیه یا تأیید هر محصول، خدمات یا شرکتی نیست. Bitcoin.com مشاوره سرمایه گذاری، مالیاتی، حقوقی یا حسابداری ارائه نمی دهد. نه شرکت و نه نویسنده به طور مستقیم یا غیرمستقیم مسئولیتی در قبال هرگونه آسیب یا ضرر ناشی از یا ادعای ناشی از استفاده یا اتکا به هر گونه محتوا، کالا یا خدمات ذکر شده در این مقاله ندارند.



[ad_2]

لینک منبع : هوشمند نیوز

آموزش مجازی مدیریت عالی حرفه ای کسب و کار Post DBA
+ مدرک معتبر قابل ترجمه رسمی با مهر دادگستری و وزارت امور خارجه
آموزش مجازی مدیریت عالی و حرفه ای کسب و کار DBA
+ مدرک معتبر قابل ترجمه رسمی با مهر دادگستری و وزارت امور خارجه
آموزش مجازی مدیریت کسب و کار MBA
+ مدرک معتبر قابل ترجمه رسمی با مهر دادگستری و وزارت امور خارجه
ای کافی شاپ
مدیریت حرفه ای کافی شاپ
خبره
حقوقدان خبره
و حرفه ای
سرآشپز حرفه ای
آموزش مجازی تعمیرات موبایل
آموزش مجازی ICDL مهارت های رایانه کار درجه یک و دو
آموزش مجازی کارشناس معاملات املاک_ مشاور املاک

برچسب ها :

ناموجود
ارسال نظر شما
مجموع نظرات : 0 در انتظار بررسی : 0 انتشار یافته : 0
  • نظرات ارسال شده توسط شما، پس از تایید توسط مدیران سایت منتشر خواهد شد.
  • نظراتی که حاوی تهمت یا افترا باشد منتشر نخواهد شد.
  • نظراتی که به غیر از زبان فارسی یا غیر مرتبط با خبر باشد منتشر نخواهد شد.